U.S. Customers: Orders shipped from Canada may be subject to U.S. import duties, taxes, and/or tariffs as assessed by U.S. Customs and your carrier. These charges are not included in our product prices or shipping rates. You are responsible for any duties/tariffs/fees due on delivery or prior to delivery.
Designed for the Canadian Climate
Free delivery within our service area (Kingston, Brockville, Ottawa, and in between)
Sea-Dog Line
401417-1

Seadog 401417-1 Led Square Courtesy Light, White - 401417-1 - 354-4014171F1

LSN 354-4014171 MPN 401417-1 UPC 35514404723 MFR Sea-Dog Line



Available @
ON, Warehouse
BC, Warehouse


This product may be available for purchase online. For pricing and availability, click the “Ask a Question about this Product” button below to speak with our team. Let us know your shipping destination and required quantity, and we’ll have a personalized quote ready for you.

$56.39
Canadian Dollars
Access Code Required
Enter your access code to unlock purchasing for this item.

My Wishlist
Compare
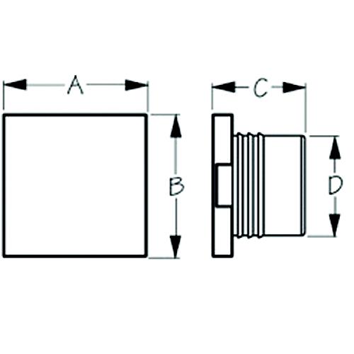
LED Square Courtesy Lights are recess mounted in a 1" diameter hole, requiring no installation fasteners. Constructed of investment cast 316 stainless steel. This high quality 1-3/8" square light with two LED bulbs can be mounted to cast light up and down or side to side, depending on the required application. 12V.

Part #:354-4014171
Manufacturer:SEA-DOG LINE
Manufacturer Part #:401417-1
UPC:035514404723
Order In Multiples Of:1
Volts12
D1"
LED ColorWhite
LEDs2
C15/16"
B1-3/8"
A1-3/8"
ColorWhite
LED2
Voltage12

Variations
354-4014181Seadog 401418-1 LED Square Courtesy Light, Blue
MarineWrap Products
Our products are shipped from Canada!
Parts Warehouse:
Toronto, Ontario, Canada
Head Office:
Kingston, Ontario
  •    Email: This email address is being protected from spambots. You need JavaScript enabled to view it.
  • Phone: Contact Us

About Us

MarineWrap is a Canadian supplier of premium marine and RV parts and accessories from top industry brands. We focus on quality, accurate listings, and dependable fulfillment so you can maintain, repair, and outfit your boat or RV with confidence.

Our goal is simple: get you the right parts, shipped fast, with straightforward service you can count on.